Jump to content

Welcome to RennTech.org Community, Guest

There are many great features available to you once you register at RennTech.org
You are free to view posts here, but you must log in to reply to existing posts, or to start your own new topic. Like most online communities, there are costs involved to maintain a site like this - so we encourage our members to subscribe or donate. All subscriptions and donations go to the costs operating and maintaining this site. We prefer that guests take part in our community and we offer a lot in return to those willing to join our corner of the Porsche world. This site is 99 percent member supported (less than 1 percent comes from advertising) - so please consider an annual subscription or donation to keep this site running.

Here are some of the features available - once you subscribe RennTech.org

  • View Classified Ads
  • DIY Tutorials
  • Porsche TSB Listings (limited)
  • VIN Decoder
  • Special Offers
  • Paint Codes
  • Registry
  • Videos System
  • View Reviews
  • and get rid of this welcome message

It takes just a few minutes to register, and it's quality Porsche information at a low cost.

Contributing Members also get these additional benefits:
(you become a Contributing Member by subscribing or donating money to the operation of this site)

  • No ads - advertisements are removed
  • Access the Contributors Only Forum
  • Contributing Members Only Downloads
  • Send attachments with PMs
  • All image/file storage limits are substantially increased for all Contributing Members
  • Option Codes Lookup
  • VIN Option Lookups (limited)

Recommended Posts

Posted

So my car suddenly started overheating, to the point that the warning light started flashing and the temperature guage quickly ran up to 250. Knowing this is not good, I shut down the engine. After it cooled down, I opened the coolant cap. I heard a gurgling noise and looked under the car to see coolant flowing out from the middle. So off to work I went on tearing things apart to find the problem. I determined the fluid was coming from the water pump, so I removed it. My problem is that a piece of the impeller was broken off and obviously is inside the cooling system and possibly blocking a radiator. Does anybody know the best way to flush out the broken piece?

post-30553-051577200 1282366360_thumb.jp

Thanks,

Ross

  • Moderators
Posted

Take a look in to the thermostat housing, with a little luck the broken part is still there.

Posted

No luck on finding the part in the thermostat. Does anybody have a diagram of the coolant system, so I can determine the next place to look?

Thanks!

  • Moderators
Posted (edited)

I hate to say this, but you are probably not going to find all the bits. We see broken impellers blades from time to time, and I'm resonably sure we rarely get all the bits out..........................not a good thing, but without disassebling the system, I'm not sure you can.

Edited by JFP in PA
  • Admin
Posted

No luck on finding the part in the thermostat. Does anybody have a diagram of the coolant system, so I can determine the next place to look?

Thanks!

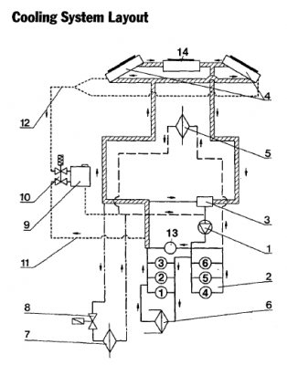
Follow the direction arrows to see the next downstream locations.

post-1-047496700 1282505674_thumb.png

1- Water pump

2 - Crankcase

3 - Thermostat

4 - Radiator

5 - Heat exchanger, heating

6 - Oil-to-water heat exchanger

7 - ATF heat exchanger (Tiptronic only)

8 - Electric shut-off valve (Tiptronic only)

9 - Expansion tank

10 - Shut-off valve

11 - Venting line (engine)

12 - Venting line (radiator)

13 - Oil separator

14 - Radiator (Tiptronic only)

Posted

No luck on finding the part in the thermostat. Does anybody have a diagram of the coolant system, so I can determine the next place to look?

Thanks!

Check out Pedrosgarage.com very helpful for bleeding the cooling system.

Create an account or sign in to comment

You need to be a member in order to leave a comment

Create an account

Sign up for a new account in our community. It's easy!

Register a new account

Sign in

Already have an account? Sign in here.

Sign In Now
×
×
  • Create New...

Important Information

We have placed cookies on your device to help make this website better. You can adjust your cookie settings, otherwise we'll assume you're okay to continue.