Jump to content

Welcome to RennTech.org Community, Guest

There are many great features available to you once you register at RennTech.org
You are free to view posts here, but you must log in to reply to existing posts, or to start your own new topic. Like most online communities, there are costs involved to maintain a site like this - so we encourage our members to subscribe or donate. All subscriptions and donations go to the costs operating and maintaining this site. We prefer that guests take part in our community and we offer a lot in return to those willing to join our corner of the Porsche world. This site is 99 percent member supported (less than 1 percent comes from advertising) - so please consider an annual subscription or donation to keep this site running.

Here are some of the features available - once you subscribe RennTech.org

  • View Classified Ads
  • DIY Tutorials
  • Porsche TSB Listings (limited)
  • VIN Decoder
  • Special Offers
  • Paint Codes
  • Registry
  • Videos System
  • View Reviews
  • and get rid of this welcome message

It takes just a few minutes to register, and it's quality Porsche information at a low cost.

Contributing Members also get these additional benefits:
(you become a Contributing Member by subscribing or donating money to the operation of this site)

  • No ads - advertisements are removed
  • Access the Contributors Only Forum
  • Contributing Members Only Downloads
  • Send attachments with PMs
  • All image/file storage limits are substantially increased for all Contributing Members
  • Option Codes Lookup
  • VIN Option Lookups (limited)

Recommended Posts

Posted

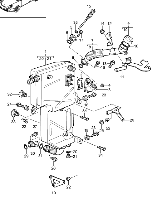
I truly apologize, but still can't find the main oil drain bolt on my 2010 GT3. I know about the 19mm bolt to look for, and to keep the tank from spinning by holding the 24 or 27mm nut above it, and that the bolt is in front of the passenger rear wheel somewhere, but was told there are pics on this site to show exactly where it is. I can't find the link for this. Do I have to remove the plastic undercarriage cover to see the drain bolt? Am I looking in the right place? I found the second drain directly under the engine. Thank you. John (still a newbie)

2010 gt3

1996 C-4 coupe

  • Admin
Posted
I truly apologize, but still can't find the main oil drain bolt on my 2010 GT3. I know about the 19mm bolt to look for, and to keep the tank from spinning by holding the 24 or 27mm nut above it, and that the bolt is in front of the passenger rear wheel somewhere, but was told there are pics on this site to show exactly where it is. I can't find the link for this. Do I have to remove the plastic undercarriage cover to see the drain bolt? Am I looking in the right place? I found the second drain directly under the engine. Thank you. John (still a newbie)

2010 gt3

1996 C-4 coupe

Not sure about the under panels on the 2010 cars but you are looking for the tank and drain plug item 21.

Be sure to use a second wrench on the nut above the drain plg so you do not put pressure on the tank weld point.

post-1-1263609164_thumb.png

Posted

Thank you very much. The exploded view helps alot. I should have no problem this time. At 500 miles I changed the oil and filter, but only changed the 3 or so quarts I could get out of the drain directly under the engine. No harm, but a waste of money! I am now changing it at 1100 miles, and it should go alot better this time. John

Create an account or sign in to comment

You need to be a member in order to leave a comment

Create an account

Sign up for a new account in our community. It's easy!

Register a new account

Sign in

Already have an account? Sign in here.

Sign In Now
×
×
  • Create New...

Important Information

We have placed cookies on your device to help make this website better. You can adjust your cookie settings, otherwise we'll assume you're okay to continue.