Jump to content

Welcome to RennTech.org Community, Guest

There are many great features available to you once you register at RennTech.org
You are free to view posts here, but you must log in to reply to existing posts, or to start your own new topic. Like most online communities, there are costs involved to maintain a site like this - so we encourage our members to subscribe or donate. All subscriptions and donations go to the costs operating and maintaining this site. We prefer that guests take part in our community and we offer a lot in return to those willing to join our corner of the Porsche world. This site is 99 percent member supported (less than 1 percent comes from advertising) - so please consider an annual subscription or donation to keep this site running.

Here are some of the features available - once you subscribe RennTech.org

  • View Classified Ads
  • DIY Tutorials
  • Porsche TSB Listings (limited)
  • VIN Decoder
  • Special Offers
  • Paint Codes
  • Registry
  • Videos System
  • View Reviews
  • and get rid of this welcome message

It takes just a few minutes to register, and it's quality Porsche information at a low cost.

Contributing Members also get these additional benefits:
(you become a Contributing Member by subscribing or donating money to the operation of this site)

  • No ads - advertisements are removed
  • Access the Contributors Only Forum
  • Contributing Members Only Downloads
  • Send attachments with PMs
  • All image/file storage limits are substantially increased for all Contributing Members
  • Option Codes Lookup
  • VIN Option Lookups (limited)

Recommended Posts

Posted

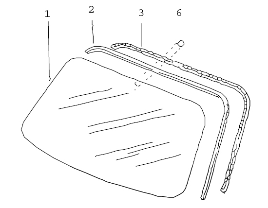
Can you remove and replace the seal and trim around the 986/996 windshield, aka windscreen?? I mean, leave the glass alone, just replace parts 2 and 3 only (see below)? I can't tell from PET or the workshop manual if you can do this; the instructions are obviously for removal of the glass itself, with the removal and installation of the seal and trim as incidental steps.

post-6002-1212632836_thumb.jpg

I am hoping our glass experts (you know who you are) can shed some light. Thanks, --Brian

Posted

Apparently, 3.2L Boxsters have a unique "titanium metallic" trim (986.541.541.02.9A4 for 2001-on) around the windscreen. Mine looks terrible from some sort of corrosion/deterioration. The parts are relatively inexpensive, so if I can remove/replace without having to alter the state of the glass, it would allow me to direct my OCD elsewhere.

From what I can tell, it seems as if the metal trim is slotted for the glass to fit into around its periphery. Does the rubber seal snap into the trim behind it? Thanks, Jeff.

--Brian

  • 4 months later...
Posted

Answering my own question here.

It turns out that you can rather easily remove and replace the EPDM rubber seal (996.541.531.01) around the windscreen without disturbing the glass or the metal/plastic trim that it presses into.

The metal/plastic trim, however is not likely to be removed without significant effort, unless you are taking the glass out, too. The trim is more than decorative, it acts as a spacer between the body and the glass and has glazing oozed into it in various areas, particularly the upper corners. With the windscreen in place, my advice is not to attempt to remove the trim from the glass unless it is evident that it can be easily loosened from 100% of its periphery.

--Brian

Posted

I have a 2000 S and had the windshield damaged and it was replaced by Harmon Glass. Everything seemed fine until I tracked it. At 120mph the rubber gasket came loose along the top and the rapidly vibrating rubber was drumming on the soft top, loudly. Did I say loudly! Quite exciting since it was so weird. I simply pushed it back in, taped it down, and continued on the track. Later I had it glued back in place by the local glass man who's used by my Porsche dealer.

Just giving you a heads up.

Jim

  • 8 years later...
Posted
I am going to attempt this on my 2001 986 - the rubber trim (996.541.531.01) is badly sun damaged. 



Please write down how the rubber trim replacement went. I haven't exactly the same issue on my 2002 986 - S

Wish you good luck.

Sent from my N9518 using Tapatalk

  • 1 month later...
Posted

Looking at what seal I was sent, I realize my problem is with the metal/rubber seal that is around the perimeter of the glass - not the seal between the body and the windshield.  I'll post a picture later, but it appears there are two seals stacked here, and one of them is attached to the glass directly.

Create an account or sign in to comment

You need to be a member in order to leave a comment

Create an account

Sign up for a new account in our community. It's easy!

Register a new account

Sign in

Already have an account? Sign in here.

Sign In Now
×
×
  • Create New...

Important Information

We have placed cookies on your device to help make this website better. You can adjust your cookie settings, otherwise we'll assume you're okay to continue.