Jump to content

Welcome to RennTech.org Community, Guest

There are many great features available to you once you register at RennTech.org
You are free to view posts here, but you must log in to reply to existing posts, or to start your own new topic. Like most online communities, there are costs involved to maintain a site like this - so we encourage our members to subscribe or donate. All subscriptions and donations go to the costs operating and maintaining this site. We prefer that guests take part in our community and we offer a lot in return to those willing to join our corner of the Porsche world. This site is 99 percent member supported (less than 1 percent comes from advertising) - so please consider an annual subscription or donation to keep this site running.

Here are some of the features available - once you subscribe RennTech.org

  • View Classified Ads
  • DIY Tutorials
  • Porsche TSB Listings (limited)
  • VIN Decoder
  • Special Offers
  • Paint Codes
  • Registry
  • Videos System
  • View Reviews
  • and get rid of this welcome message

It takes just a few minutes to register, and it's quality Porsche information at a low cost.

Contributing Members also get these additional benefits:
(you become a Contributing Member by subscribing or donating money to the operation of this site)

  • No ads - advertisements are removed
  • Access the Contributors Only Forum
  • Contributing Members Only Downloads
  • Send attachments with PMs
  • All image/file storage limits are substantially increased for all Contributing Members
  • Option Codes Lookup
  • VIN Option Lookups (limited)

Recommended Posts

Posted

Hello All,

I have also sent a similar message to Loren directly, so if I hear back, I'll try to post Lorens remarks here, unless he beats me to it ;)

I have searched the forums for information about code number P0336 (crankshaft position sensor- not specified range), which I pulled using the Durametric tool. I cleared the original codes after pulling the data and then pulled this code again (it is the only code I get from my car: 1999 C2).

I have an electronic version of the shop manuals and cannot find much information about this fault code or how to troubleshoot the issue. I cannot even find a photo or description of where the crankshaft position sensor is mounted and how to remove it!

MY QUESTION TO YOU: Is this a common fault and is there a known fix? Does anyone have a link to a "how to" posts for this?

Any help would be sincerely appriciated.....

  • Admin
Posted

Well, you can hope it is a bad connection and try looking at and cleaning the electrical connection.

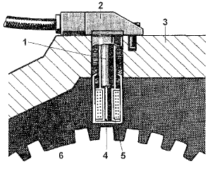
To precisely determine the crankshaft position, a reference mark signal is required.

Engine speed and reference mark are monitored via an inductive sensor. A larger gear notch in the ring gear (on the flywheel) serves as reference mark. The larger notch induces a higher voltage in the sensor.

A soft iron core partially bundles the magnetic field produced by the permanent magnet which then enters the space and closes again through the magnetically conductive parts of the engine. A steel toothed ring moving past the face of the sensor affects the magnetic field. The change in the magnetic field induces an electric charge that is used by the DME.

A fault code is stored in memory when no crankshaft position sensor signal is recognized within 60 crankshaft revolutions and the engine speed is above 500 rpm.

post-2-1153443229.png

1 - Permanent magnet

2 - Sensor housing

3 - Engine case

4 - Soft iron core

5 - Inductor coil

6 - Reference mark

Could be the sensor connection, bad sensor, magnet has fallen out of the flywheel or even a bad DME (but not likely).

Test the sensor as follows:

Remove connector. Connect ohmmeter to sensor connector, pins 1 and 2.

Display at 20 °C: 0.8 - 1.0 k ohms

Connect ohmmeter to sensor connector, pins 1 and 3.

Display: 00 infinite ohms

Hope this helps some...

Posted

Thanks alot for your very technical and through explanation Loren....I sincerely appreciate it. This is an ignorant questions, but could you tell me where on the engine case that bad boy is inserted? Also, what happens when the DME does not get a Crankshaft Position sensor signal? Is it damaging to continue to drive? Are there any negative consequences to not having an operational CPS? If I had not run codes, I would not have even known that there was a problem. Thanks in advance!

  • Admin
Posted

Here are two pics - the first one shows a complete engine and where the sensor is in relation to the flywheel.

The second one (courtesy of Jim Pasha) shows how it protrudes into the flywheel housing. The sensor can be changed without removing the engine or transmission.

post-2-1153454338_thumb.jpg post-2-1153454352_thumb.jpg

As long as the light is on solid (and not flashing) then the car is safe to drive.

If the sensor is intermittent you may not see/feel much change. Otherwise you might see timing problems because the DME does not know (accurately) how fast the crankshaft is turning

Posted

Loren, you are the coolest. Thank you so much for the photos....makes the whole process much less daunting. :thumbup: I hope that this info helps a few other folks that have the same issues.

When you speak of the "light" flashing, I assume you mean the Check Engine Light? Mine has never come on, is not on, and has never flashed. I don't know if that's a good or bad thing?!

Posted

Hi Loren,

As a followup to yesterday's post, I wrote that I have never had a check engine light on although my DME keeps producing a Crankshaft Sensor P code. You mentioned that it would be unwise to drive if the light (I assume the check engine light) is flashing, but not so if solid. Since I don't have a CEL on at all, what does that mean? Thank you.

  • Admin
Posted

The sensor could be intermittent (and corrects itself before the threshold is exceeded) or your cel light is burn't out.

Does your cel light go on when you turn your ignition to "on"?

Posted

Yes Loren, the CEL comes on when I first turn the key (along with all other warning lights in the cluster) and goes out as soon as I start the engine....

  • 6 years later...
  • Admin
Posted

the car will drive with a bad crankshaft position sensor? I thought it would die.

Sometimes they are intermittent - then the drive a little get hot and fail.

  • 3 years later...
Posted

Hey guys,

 

  quick question. Can a faulty crankshaft sensor be the reason for loss of low end torque when car reaches high temperature?

Posted

I would say yes.  Remember, the DME is using the CPS to determine the crankshaft speed and then sets other parameters for engine running.  With an intermittent signal from the CPS, the DME will attempt to set running parameters based on "guess" or default values which are then not optimal for performance.

  • Admin
Posted
1 hour ago, abraham_gt said:

Hey guys,

 

  quick question. Can a faulty crankshaft sensor be the reason for loss of low end torque when car reaches high temperature?

 

Not likely in my opinion. Any CPS failures whether total or intermittant that I have seen cause the engine to stop running.

Simple enough to test though with a an (automotive) oscilloscope.

Posted

Thanks guys! Let me give you a little bit more context. My car runs perfectly fine, and its fairly quick even from a complete standstill; but sometimes, if I've been driving it too hard or if the outside temperature is too hot (I live in the caribbean), the car will be very sluggish at low rpm (up to 4k), and then it punches in its normal power. For some reason, if the car has been parked overnight and I turn it on and drive out; the problem seems to disappear. 

 

    Thoughts?

Posted (edited)

THe Crankshaft Position Sensor is an inexpensive $93 ,Bosch part that is relatively easy to replace. Time/heat cycles(?) causes them to deteriorate. why not just replace it ? Or test ohms when it malfunctions (easier said than done !)

Try RND bur verify correct part # you did not mention your vehicle details

http://store.rndeuroparts.com/catalog/SSF/catalog.aspx?SearchedText=0261210204

Unfortunately RND are no longer supporting their website for Porsche parts like this. Try Sunset ? Price is about 30+% higher when you include shipping.

Edited by Schnell Gelb
Posted

Can you hear the air pump turn on and off. Vacuum problems could be an issue and I thought outside temp was a factor for the secondary air pump. Just a guess....


Sent from my iPhone using Tapatalk

Create an account or sign in to comment

You need to be a member in order to leave a comment

Create an account

Sign up for a new account in our community. It's easy!

Register a new account

Sign in

Already have an account? Sign in here.

Sign In Now
×
×
  • Create New...

Important Information

We have placed cookies on your device to help make this website better. You can adjust your cookie settings, otherwise we'll assume you're okay to continue.